Clarus Security Detection and Response Systems:
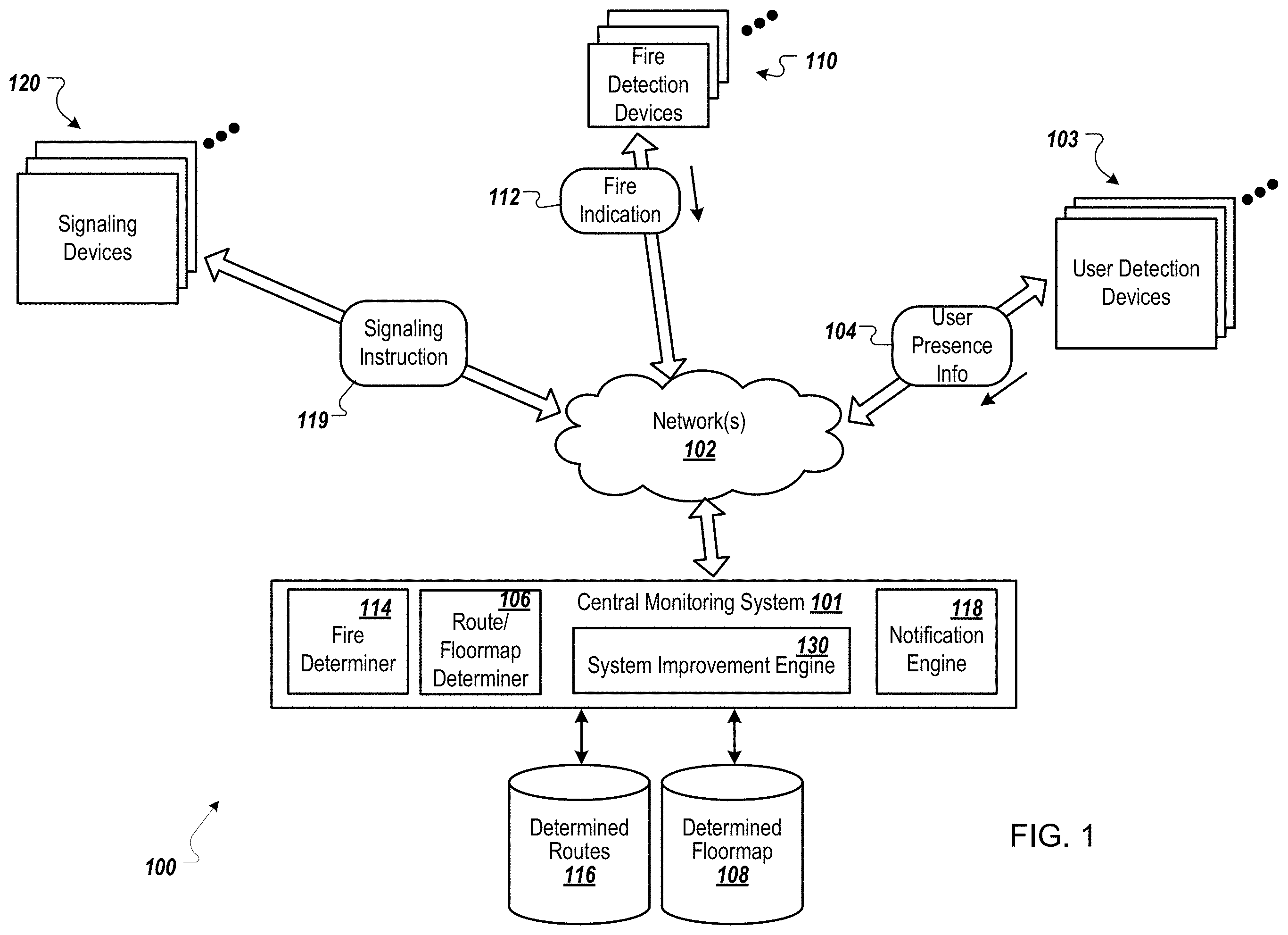
Introducing our groundbreaking patent offering: an advanced system and method designed for predicting and enhancing emergency preparedness in buildings, using cutting-edge technology. Imagine equipping any type of building, be it residential, commercial, or a high-rise, with the capability to dynamically generate and adapt egress plans tailored to each user's real-time location. Our technology not only enhances building layout and design for improved safety but also ensures the wellbeing of its users during emergencies.
Leveraging predictive analytics, AI, and machine learning, our system continuously improves egress strategies, provides simulated emergency scenarios for user training, and suggests structural improvements to mitigate emergency risks. This transformative technology predicts building susceptibility to various emergencies and enables proactive adjustments to building components and layouts, enhancing safety.
Designed to work synergistically, our system's network of egress advisement devices ensures constant communication, sustains operation even if one fails, and dynamically updates evacuation plans based on real-time conditions. This robust infrastructure supports not only immediate safety needs but also contributes to long-term building maintenance and safety enhancements.
This innovative solution also assesses changes in building environments, predicting impacts on safety and suggesting necessary adjustments. Whether it's moving furniture to clear egress paths or optimizing room layouts, our system ensures fluid and efficient egress routes.
In summary, this patented technology empowers buildings to become intelligent environments that anticipate, react, and prepare for emergencies like never before. By integrating advanced predictive capabilities with real-time adaptability, we are setting new standards for safety and preparedness in building management. These patents are poised to revolutionize emergency response systems, transforming buildings into smart safe havens.
| Patent | Title | Focus | Country | Date |
|---|---|---|---|---|
| 9999999999 | ACTIVE SHOOTER DETECTION AND RESPONSE SYSTEM |
|
United States of America | 31-Dec-2026 |
| 3915099 | HOME EMERGENCY GUIDANCE AND ADVISEMENT SYSTEM |
|
European | 25-Sep-2025 |
| 12293676 | PREDICTIVE BUILDING EMERGENCY TRAINING AND GUIDANCE SYSTEM |
|
United States of America | 26-May-2025 |
| 4371097 | BUILDING SECURITY AND EMERGENCY DETECTION AND ADVISEMENT SYSTEM |
|
European | 30-Apr-2025 |
| 12223819 | BUILDING SECURITY AND EMERGENCY DETECTION AND ADVISEMENT SYSTEM |
|
United States of America | 11-Feb-2025 |
| 12214283 | SYSTEMS AND METHODS FOR MACHINE LEARNING-BASED EMERGENCY EGRESS AND ADVISEMENT |
|
United States of America | 04-Feb-2025 |
| 12205447 | ARTIFICIAL INTELLIGENCE (AI) BUILDING EMERGENCY GUIDANCE AND ADVISEMENT SYSTEM |
|
United States of America | 21-Jan-2025 |
| 12033534 | PREDICTIVE BUILDING EMERGENCY TRAINING AND GUIDANCE SYSTEM |
|
United States of America | 09-Jul-2024 |
| 2966206 | MANAGING BUILDING INFORMATION AND RESOLVING BUILDING ISSUES |
|
Canada | 13-Feb-2024 |
| 11875661 | BUILDING SECURITY AND EMERGENCY DETECTION AND ADVISEMENT SYSTEM |
|
United States of America | 16-Jan-2024 |
| 11850515 | SYSTEMS AND METHODS FOR MACHINE LEARNING-BASED EMERGENCY EGRESS AND ADVISEMENT |
|
United States of America | 26-Dec-2023 |
| 11756399 | PREDICTIVE BUILDING EMERGENCY GUIDANCE AND ADVISEMENT SYSTEM |
|
United States of America | 12-Sep-2023 |
| 11631305 | CENTRALLY MANAGED EMERGENCY EGRESS GUIDANCE FOR BUILDING WITH DISTRIBUTED EGRESS ADVISEMENT DEVICES |
|
United States of America | 18-Apr-2023 |
| 11625995 | SYSTEM AND METHOD FOR GENERATING EMERGENCY EGRESS ADVISEMENT |
|
United States of America | 11-Apr-2023 |
| 11625996 | COMPUTER-BASED TRAINING FOR EMERGENCY EGRESS OF BUILDING WITH DISTRIBUTED EGRESS ADVISEMENT DEVICES |
|
United States of America | 11-Apr-2023 |
| 11625997 | EMERGENCY EGRESS GUIDANCE USING ADVISEMENTS STORED LOCALLY ON EGRESS ADVISEMENT DEVICES |
|
United States of America | 11-Apr-2023 |
| 11625998 | PROVIDING EMERGENCY EGRESS GUIDANCE VIA PEER-TO-PEER COMMUNICATION AMONG DISTRIBUTED EGRESS ADVISEMENT DEVICES |
|
United States of America | 11-Apr-2023 |
| 11626002 | BUILDING SECURITY AND EMERGENCY DETECTION AND ADVISEMENT SYSTEM |
|
United States of America | 11-Apr-2023 |
| 11620883 | SYSTEM AND METHOD FOR DYNAMIC MODIFICATION AND SELECTION OF EMERGENCY EGRESS ADVISEMENT |
|
United States of America | 04-Apr-2023 |
| 11620884 | EGRESS ADVISEMENT DEVICES TO OUTPUT EMERGENCY EGRESS GUIDANCE TO USERS |
|
United States of America | 04-Apr-2023 |
| 11615490 | MANAGING BUILDING INFORMATION AND RESOLVING BUILDING ISSUES |
|
United States of America | 28-Mar-2023 |
| 11600156 | SYSTEM AND METHOD FOR AUTOMATING EMERGENCY EGRESS ADVISEMENT GENERATION |
|
United States of America | 07-Mar-2023 |
| 11583770 | SYSTEMS AND METHODS FOR MACHINE LEARNING-BASED EMERGENCY EGRESS AND ADVISEMENT |
|
United States of America | 21-Feb-2023 |
| 2022203215 | HOME EMERGENCY GUIDANCE AND ADVISEMENT SYSTEM |
|
Australia | 15-Dec-2022 |
| 11501621 | PREDICTIVE BUILDING EMERGENCY GUIDANCE AND ADVISEMENT SYSTEM |
|
United States of America | 15-Nov-2022 |
| 3127796 | HOME EMERGENCY GUIDANCE AND ADVISEMENT SYSTEM |
|
Canada | 04-Oct-2022 |
| 11450226 | PREDICTIVE BUILDING EMERGENCY TRAINING AND GUIDANCE SYSTEM |
|
United States of America | 20-Sep-2022 |
| 2022200402 | HOME EMERGENCY GUIDANCE AND ADVISEMENT SYSTEM |
|
Australia | 28-Jul-2022 |
| 2020212041 | HOME EMERGENCY GUIDANCE AND ADVISEMENT SYSTEM |
|
Australia | 09-Jun-2022 |
| 11335171 | HOME EMERGENCY GUIDANCE AND ADVISEMENT SYSTEM |
|
United States of America | 17-May-2022 |
| 11127095 | MANAGING BUILDING INFORMATION AND RESOLVING BUILDING ISSUES |
|
United States of America | 21-Sep-2021 |
| 11043095 | PREDICTIVE BUILDING EMERGENCY GUIDANCE AND ADVISEMENT SYSTEM |
|
United States of America | 22-Jun-2021 |
| 10872510 | HOME EMERGENCY GUIDANCE AND ADVISEMENT SYSTEM |
|
United States of America | 22-Dec-2020 |
| 10657610 | MANAGING BUILDING INFORMATION AND RESOLVING BUILDING ISSUES |
|
United States of America | 19-May-2020 |
| 10553085 | HOME EMERGENCY GUIDANCE AND ADVISEMENT SYSTEM |
|
United States of America | 04-Feb-2020 |
| 10147149 | MANAGING BUILDING INFORMATION AND RESOLVING BUILDING ISSUES |
|
United States of America | 04-Dec-2018 |
| 2015339325 | MANAGING BUILDING INFORMATION AND RESOLVING BUILDING ISSUES |
|
Australia | 07-Sep-2017 |
| 9536231 | MANAGING BUILDING INFORMATION AND RESOLVING BUILDING ISSUES |
|
United States of America | 03-Jan-2017 |